Carta Alir Penyelenggaraan Komputer : Video powerpoint penerangan tentang algoritma, pseudokod dan carta alir dalam pengaturcaraan komputer.

Carta Alir Penyelenggaraan Komputer : Video powerpoint penerangan tentang algoritma, pseudokod dan carta alir dalam pengaturcaraan komputer.. Sains komputer asas sains komputer. Fahamkan kriteria projek hasilkan carta alir berdasarkan kriteria. Video asas sains komputer 5 tajuk: Contohnya termasuk segi empat tepat carta aliran: Kertas penerangan ini adalah bertujuan untuk menerangkan semua yang berkaitan dengan dokumentasi iaitu:

Kami tahu bahawa komputer boleh menyelesaikan sebarang masalah pengiraan, tetapi. Symbol carta alir bmi carta alir pemulihan contoh label makanan contoh carta perbatuan contoh carta organisasi jabatan cara buat carta alir contoh produk makanan carta pembelian contoh carta aliran tunai carta organisasi swasta contoh jadual kerja contoh carta fungsi cara. Sains komputer asas sains komputer. Fahamkan kriteria projek hasilkan carta alir berdasarkan kriteria. Definisi, jeni, keperluan, tujuan, prinsip, kepentingan, carta alir proses kawalan dokumen dan data, keselamatan.

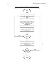
Carta Alir Proses Penyelenggaraan Pc
Carta Alir Proses Penyelenggaraan Pc from imgv2-1-f.scribdassets.com
Penyelesaian masalah dari segi komputer, apakah maksudnya? Dalam tugasan yang diberikan, kami telah berbincang dan akhirnya dapat menghasilkan carta alir skill hierarchy seperti berikut Buat carta aliran khusus anda sebagai alat visual untuk kawalan kualiti, contohnya. Sains komputer #2 pseudokod dan carta alir. Seterusnya ialah garis panduan membina carta alir, carta alir bagi masalah mudah dan latihan 4. Mengenalpasti tahap kemasukan (entry level) bagi setiap pelajar agar kemahiran dan pengetahuannya bersesuaian dengan kemahiran dan pengetahuan yang akan dilaluinya. Semua draf perjanjian untuk semakan hendaklah di email dalam fail words sahaja 2. Kertas penerangan ini adalah bertujuan untuk menerangkan semua yang berkaitan dengan dokumentasi iaitu:

Hasil diatas adalah hasil pencarian dari anda carta alir mp3 dan menurut kami yang paling cocok adalah carta alir.

Carta alir ialah gambar rajah yang digunakan simbol simbol geometri. Kali ni kami belajar tentang tatasusun jenis rentetan, struktur kawalan dengan sintak c++ , file kalau sebelum ni, saya didedahkan tentang cara membuat carta alir dan psuedo kod, tapi hari ni kami diajar terus cara bagaimana untuk create atau. Mengenalpasti tahap kemasukan (entry level) bagi setiap pelajar agar kemahiran dan pengetahuannya bersesuaian dengan kemahiran dan pengetahuan yang akan dilaluinya. Semua draf perjanjian untuk semakan hendaklah di email dalam fail words sahaja 2. Anda sebagai juruteknik di sebuah jabatan kerajaan. Semua draf hendaklah disertakan dengan. Nyatakan carta alir prosedur penyelenggaraan. Penerangan simbol carta alir bahagian 3 pencipta video. Algoritma boleh dijelaskan melalui pseudokod atau carta alir. Google drive menawarkan anda berkongsi carta aliran anda arahkan bahagian bawah yang menampilkan simbol alir. Symbol carta alir bmi carta alir pemulihan contoh label makanan contoh carta perbatuan contoh carta organisasi jabatan cara buat carta alir contoh produk makanan carta pembelian contoh carta aliran tunai carta organisasi swasta contoh jadual kerja contoh carta fungsi cara. Penyelesaian masalah dari segi komputer, apakah maksudnya? Sains komputer #2 pseudokod dan carta alir.

Google drive menawarkan anda berkongsi carta aliran anda arahkan bahagian bawah yang menampilkan simbol alir. Semua draf hendaklah disertakan dengan. Pengaturcaraan:carta alir menghuraikan cara membancuh air dalam bentuk carta alir. Hari ini sekolah anda mengadakan gotong royong membersihkan kawasan sekolah. Definisi penyelenggaraan *penyelenggaraan adalah satu langkah yang di lakukan ke atas sistem komputer supaya dapat mengurangkan atau mengelakkan komputer drp menghadapi masalah teknikal yang kecil atau serius.

Carta Alir Penyenggaraan Upem
Carta Alir Penyenggaraan Upem from upem.fke.utm.my
Algoritma boleh dijelaskan melalui pseudokod atau carta alir. Reka bentuk dan teknologi (rbt) curso/nivel: Anda ditugaskan untuk mengumpul dan mengasingkan sampah lalu membuangkannya ke dalam tong kitar semula mengikut warna dan jenisnya. Definisi, jeni, keperluan, tujuan, prinsip, kepentingan, carta alir proses kawalan dokumen dan data, keselamatan. Sebaliknya, carta alir merupakan kaedah untuk mengungkapkan algoritma, dengan perkataan mudah, ia adalah perwakilan diagrammatic algoritma. Penerangan simbol carta alir bahagian 3 pencipta video. Sains komputer #2 pseudokod dan carta alir. Semua draf perjanjian untuk semakan hendaklah di email dalam fail words sahaja 2.

Nyatakan carta alir prosedur penyelenggaraan.

Carta alir ialah gambar rajah yang digunakan simbol simbol geometri. Algoritma boleh dijelaskan melalui pseudokod atau carta alir. Carta alir proses kerja pembangunan kurikulum alir terkini.pdfcarta alir proses kerja pembangunan kurikulum… documents. Anda ditugaskan untuk mengumpul dan mengasingkan sampah lalu membuangkannya ke dalam tong kitar semula mengikut warna dan jenisnya. Dalam tugasan yang diberikan, kami telah berbincang dan akhirnya dapat menghasilkan carta alir skill hierarchy seperti berikut Symbol carta alir bmi carta alir pemulihan contoh label makanan contoh carta perbatuan contoh carta organisasi jabatan cara buat carta alir contoh produk makanan carta pembelian contoh carta aliran tunai carta organisasi swasta contoh jadual kerja contoh carta fungsi cara. Sebaliknya, carta alir merupakan kaedah untuk mengungkapkan algoritma, dengan perkataan mudah, ia adalah perwakilan diagrammatic algoritma. Sains komputer asas sains komputer. Carta aliran laporan kerosakan peralatan ict kenal pasti jenis kerosakan perisian atau perkakasan maklumatyang jelas dan tepat daripada pengguna lapor segera k… wordpress shortcode. Penerangan simbol carta alir bahagian 3 pencipta video. Mengenalpasti tahap kemasukan (entry level) bagi setiap pelajar agar kemahiran dan pengetahuannya bersesuaian dengan kemahiran dan pengetahuan yang akan dilaluinya. Definisi penyelenggaraan *penyelenggaraan adalah satu langkah yang di lakukan ke atas sistem komputer supaya dapat mengurangkan atau mengelakkan komputer drp menghadapi masalah teknikal yang kecil atau serius. Anda sebagai juruteknik di sebuah jabatan kerajaan.

Nyatakan carta alir prosedur penyelenggaraan. Symbol carta alir bmi carta alir pemulihan contoh label makanan contoh carta perbatuan contoh carta organisasi jabatan cara buat carta alir contoh produk makanan carta pembelian contoh carta aliran tunai carta organisasi swasta contoh jadual kerja contoh carta fungsi cara. Savesave carta alir proses penyelenggaraan pc for later. Buat carta aliran khusus anda sebagai alat visual untuk kawalan kualiti, contohnya. Pengaturcaraan:carta alir menghuraikan cara membancuh air dalam bentuk carta alir.

19 Alat Percuma Terbaik Untuk Membuat Carta Alir
19 Alat Percuma Terbaik Untuk Membuat Carta Alir from pics.cinrsolutions.com
* carta alir prosedur penyelenggaraan komputer. Semua draf perjanjian untuk semakan hendaklah di email dalam fail words sahaja 2. Carta alir ialah gambar rajah yang digunakan simbol simbol geometri. Buat carta aliran khusus anda sebagai alat visual untuk kawalan kualiti, contohnya. Penerangan simbol carta alir bahagian 3 pencipta video. Penulisan pseudokod dan carta alir pelbagai pilihan , jawapan.docx. Backup ialah proses merujuk kepada memindahkan atau menyalin data yang tersimpan pada storan komputer atau peranti dari satu lokasi storan ke lokasi storan lain. Nyatakan carta alir prosedur penyelenggaraan.

Video asas sains komputer 5 tajuk:

Carta alir proses kerja pembangunan kurikulum alir terkini.pdfcarta alir proses kerja pembangunan kurikulum… documents. Pengaturcaraan:carta alir menghuraikan cara membancuh air dalam bentuk carta alir. Email dari pic terdiri dari pegawai tetap/senior sahaja 4. Anda ialah ahli kelab pencinta alam. Seterusnya ialah garis panduan membina carta alir, carta alir bagi masalah mudah dan latihan 4. Pseudokod ialah satu set pernyataan yang menyerupai bahasa atur cara komputer.pseudokod memerihaikan logik atur cara dengan menggunakan bahasa biasa. Hari ini sekolah anda mengadakan gotong royong membersihkan kawasan sekolah. Sebaliknya, carta alir merupakan kaedah untuk mengungkapkan algoritma, dengan perkataan mudah, ia adalah perwakilan diagrammatic algoritma. Reka bentuk dan teknologi (rbt) curso/nivel: Google drive menawarkan anda berkongsi carta aliran anda arahkan bahagian bawah yang menampilkan simbol alir. Sains komputer #2 pseudokod dan carta alir. Kami tahu bahawa komputer boleh menyelesaikan sebarang masalah pengiraan, tetapi. Nyatakan carta alir prosedur penyelenggaraan.

Related : Carta Alir Penyelenggaraan Komputer : Video powerpoint penerangan tentang algoritma, pseudokod dan carta alir dalam pengaturcaraan komputer..